Matrix-II
General Info
The MATRIX-II reader is used in access control systems as a reader for PROXIMITY proximity cards of the EM-Marine standard and converting the code of the read card into the Dallas Touch code Memory and Wiegand 26. With ACS, simultaneous use of cards of two standards EM-Marine and. to the copied card number, it transfers the number of the card itself to the controller and not the cloned one number This will eliminate the passage of duplicated cards. At the same time, the possibility of using cards in the system under their original numbers is not excluded. ET Temic (T5557)
Protection against clone cards EM-Marine
clone protection against EM-Marine emulated cards with Temic (T5557).

Specifications
Identifiers:
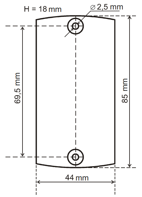
EM-Marine and Temic cards Automatic detection of the map standard without additional settings. Reading range of cards / key fobs - 6-14 cm: Output protocol: -Dallas Touch Memory -Wiegand-26 Remoteness of the reader from the controller in Dallas Touch Memory mode, up to 15m Distance of the reader from the controller in Wiegand mode, up to 100m Card swiping confirmation: buzzer signal, bi-color LED Indication: internal and from external control Supply voltage: 8 - 18 V DC Current consumption in card standby mode, no more: 35mA Working temperature (indoor): -40C to + 50C Relative humidity, no more: 95% Dimensions: 85x44x18mm.
Reader operation
Operation of the reader without using external indication control (internal indication):
-
Always, when there is no card in the reader field, the red LED is on.
-
At the moment of presenting the card, the red LED turns off and a green and short sound flashes.
- While the card is in the field there is no light indication.
External control of red, green LEDs and sound is carried out by short circuit to general contact. External indication can work in conjunction with internal indication, i.e. external control excludes only the channel through which external control is noticed.
Features of work of the reader with the MATRIX-II ET Z-5R controller
The reader is connected to the controller via emulation). The indication and sound from the controller are controlled by wire
Operating Conditions
Ambient temperature: -30…40°C.
Humidity: ≤ 98% at 25°C.
When operating under non-recommended conditions, device parameters can deviate from specified values.